Are there any love for vintage Bulova on OF?

Posts
242
Likes
2,022
Here's today's WRUW, a circa 1962 Bulova Ref 314 M2 Super Compressor
(@maanu already showed his upthread on page 6)

Piqurez compressor case
double signed crowns
11 AFAC 17j movement
 
Posts
13,698
Likes
53,498
Hi Bulova Cognoscenti,

I have what I think is a Bulova Sea King on an integral JB Champion Bracelet. This was an impulse purchase a while back that I’ve never really connected with. I would greatly appreciate some insight into what I’ve got and a value range. Its in near new condition.
Thanks
 
Posts
6,190
Likes
21,195
Just back from service. 1963 Bulova Astronaut. Super happy. Humming away with a mesmerizing second hand sweep.

 
Posts
16,307
Likes
44,994
Hi Bulova Cognoscenti,

I have what I think is a Bulova Sea King on an integral JB Champion Bracelet. This was an impulse purchase a while back that I’ve never really connected with. I would greatly appreciate some insight into what I’ve got and a value range. Its in near new condition.
Thanks
It says it right there on the tag- it’s $60 😉
 
Posts
3,951
Likes
11,027
Just back from service. 1963 Bulova Astronaut. Super happy. Humming away with a mesmerizing second hand sweep.
That's a beautiful Astronaut, who did three service? Mine's also a 1963.
 
Posts
284
Likes
2,347
I have seen some nice Bulova watches here.👍

I found a real nice Bulova chronograph last year.
It is a Bulova MarineStar chronograph with the Valjoux 725, a movement with real flyback.



Very glad to add this watch to my collection!
 
Posts
13,698
Likes
53,498
I have seen some nice Bulova watches here.👍

I found a real nice Bulova chronograph last year.
It is a Bulova MarineStar chronograph with the Valjoux 725, a movement with real flyback.



Very glad to add this watch to my collection!
Still on my list. Yours is stunning.
 
Posts
16,307
Likes
44,994
I have seen some nice Bulova watches here.👍

I found a real nice Bulova chronograph last year.
It is a Bulova MarineStar chronograph with the Valjoux 725, a movement with real flyback.



Very glad to add this watch to my collection!
These watches have almost nothing out there on them. I’ve seen them for years and have always hesitated as I just know nothing about them. Anyone have any real info? This was a murky era for Bulova so I assume they were contracted out- but by whom?
 
Posts
13,698
Likes
53,498
These watches have almost nothing out there on them. I’ve seen them for years and have always hesitated as I just know nothing about them. Anyone have any real info? This was a murky era for Bulova so I assume they were contracted out- but by whom?
I’m guessing Movado. Could be wrong.
 
Posts
284
Likes
2,347
These watches have almost nothing out there on them. I’ve seen them for years and have always hesitated as I just know nothing about them. Anyone have any real info? This was a murky era for Bulova so I assume they were contracted out- but by whom?

Sorry, I can not follow your thoughts.
Yes, it is no Bulova with a movement developed by them.
I have had some of the nice Bulovas from end of 60s to 70s.
But after this, the quartz crisis forced the brands to develop other sales possibilities.
Bulova was not the only brand with problems out there in the 80s.
Bulova and other brands started to produce watches/chronographs with Valjoux movements and cases, they bought from other brands.
That was the reason, why you can find very similiar watches, i.e. from Dugena and Bulova (Chronograph with Valjoux 7733).
Was it a bad idea to use standard cases and movements?
No, I do not think so.
Many brands made the same.
It was one (perhaps the only) possibility to survive the quartz crisis.

To this model:
Some brands used these cases, especially Excelsior Park (Monte Carlo), Bulova (Marine Star) and with slightly differences Zenith (Cairelli).
You can find some different movements inside:
Valjoux 7731, Valjoux 7740 and Valjoux 725 with flyback.
All these movements were used by other great brands, the Valjoux 725 I.e. Breguet used it in the old Type XX chronographs.
So, what is wrong with these Bulova chronographs?
 
Posts
16,307
Likes
44,994
Sorry, I can not follow your thoughts.
Yes, it is no Bulova with a movement developed by them.
I have had some of the nice Bulovas from end of 60s to 70s.
But after this, the quartz crisis forced the brands to develop other sales possibilities.
Bulova was not the only brand with problems out there in the 80s.
Bulova and other brands started to produce watches/chronographs with Valjoux movements and cases, they bought from other brands.
That was the reason, why you can find very similiar watches, i.e. from Dugena and Bulova (Chronograph with Valjoux 7733).
Was it a bad idea to use standard cases and movements?
No, I do not think so.
Many brands made the same.
It was one (perhaps the only) possibility to survive the quartz crisis.

To this model:
Some brands used these cases, especially Excelsior Park (Monte Carlo), Bulova (Marine Star) and with slightly differences Zenith (Cairelli).
You can find some different movements inside:
Valjoux 7731, Valjoux 7740 and Valjoux 725 with flyback.
All these movements were used by other great brands, the Valjoux 725 I.e. Breguet used it in the old Type XX chronographs.
So, what is wrong with these Bulova chronographs?
There is nothing wrong with them, just very little information about them. Was inquiring if anyone had any definitive information about their production run, how many were made, who made them for Bulova- etc. Not sure what you aren’t following in my thoughts.
 
Posts
284
Likes
2,347
I cannot answer all the questions.
Perhaps, it is possible to estimate the number of produced Marine Stars, because you can find an engraved production number on the back:


(Bottom left)
I know two big collectors of that watches.
Perhaps, I have the possibility to contact them and ask more questions.
 
Posts
580
Likes
1,829
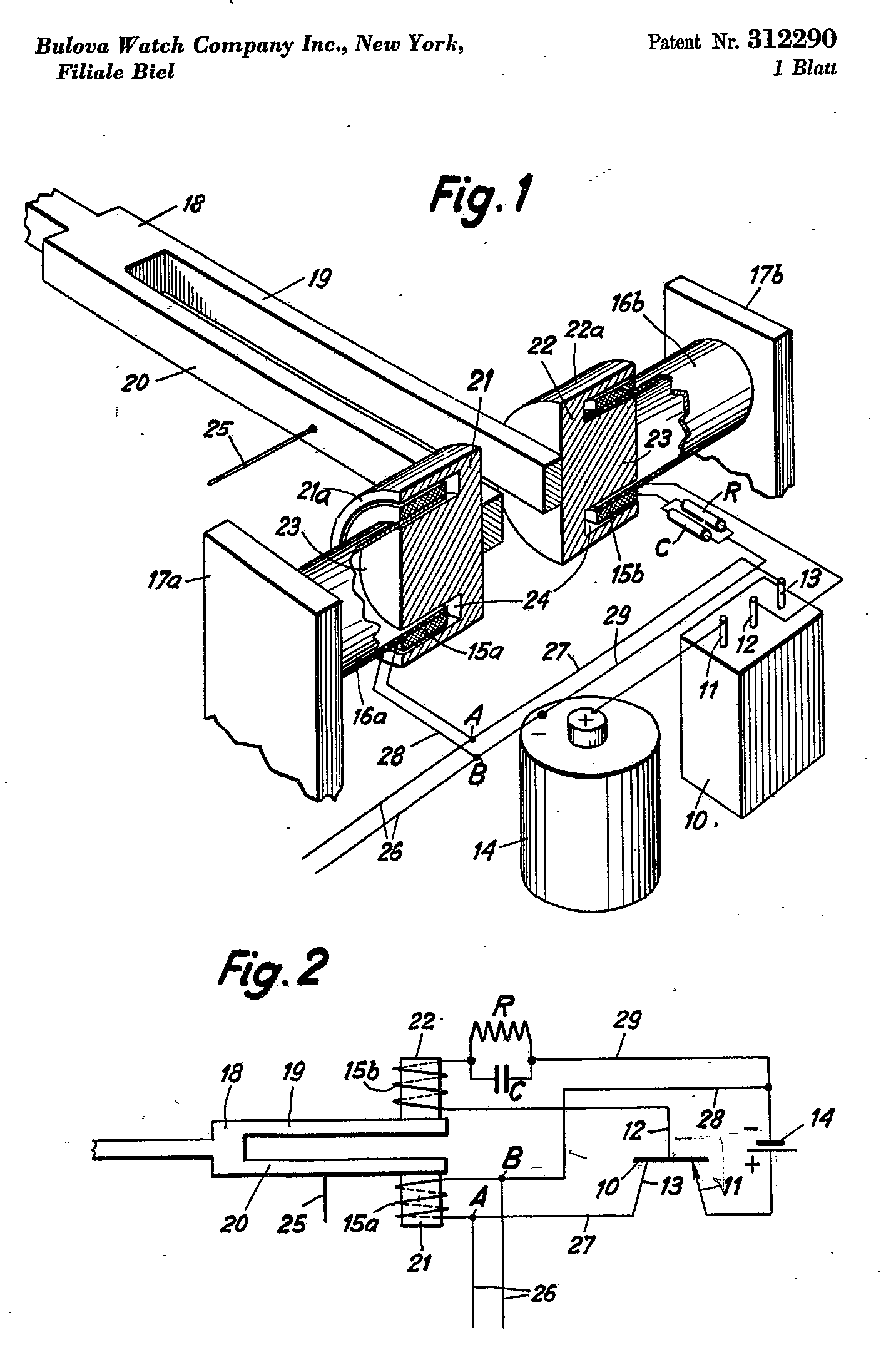
Came across this patent diagram for the Bulova Accutron tuning fork movement today.
 
Posts
301
Likes
436
Bulova Accutron Prototype - circa 1959 or early 1960
Accutron 114P

This is what I believe was the final revision of the Accutron prior to its release. There are only small differences in the train bridge screw positions visible in this photo I took. The watch case is 14k solid gold. Under the grounding tab are some additional serial numbers. The caseback has unique markings. From other collectors I spoke with, these were limited to approximately 100 watches to help train service centers prior to the release of the watch. There are other prototypes out there, but this is one of the only fully complete watches with a dial, case, and 114P marked movement. Interestingly the dial is featured in the accutron service manual but is not found in production watches.

Edited:
 
Posts
3,409
Likes
17,400
BULOVA DEEP SEA 666ft. CHRONOGRAPH variant " B "
with vintage JB Champion USA expandable SS bracelet aka NASA bracelet