jgd
·Hi all! Great to be a this wonderful place of watch enthisiasts!
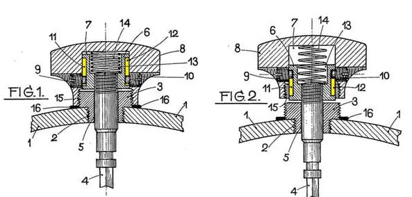
I'm trying to understand in detail the waterproofness concept of the screw-down crown from the 60-70ies as found on many Seamaster models, e.g. 166.088 or 166.024. (Part number 069ST42062). This is what I'm talking about:
Of course I could tear down this one to see myself... eehm well better not.
So, how many o-rings does the crown have? Are these even o-rings? Do the o-rings go around the shaft of the tube or at the end face or both? Here's a sketch to visualise my thoughts. I hope there's an expert on the forum who can guide me in the right direction!
Thanks a lot & a great day to you all!
J
I'm trying to understand in detail the waterproofness concept of the screw-down crown from the 60-70ies as found on many Seamaster models, e.g. 166.088 or 166.024. (Part number 069ST42062). This is what I'm talking about:
Of course I could tear down this one to see myself... eehm well better not.
So, how many o-rings does the crown have? Are these even o-rings? Do the o-rings go around the shaft of the tube or at the end face or both? Here's a sketch to visualise my thoughts. I hope there's an expert on the forum who can guide me in the right direction!
Thanks a lot & a great day to you all!
J

